文章来源:医药网 news.PharmNet.com.cn
2023-05-30 米内网原创
近日,化药软膏剂再掀波澜。四川海思科制药的利丙双卡因乳膏获批上市,河南羚锐制药河南羚锐生物药业的莫匹罗星软膏和华东医药(西安)博华制药的夫西地酸乳膏报产获CDE受理。米内网数据显示,2021年中国公立医疗机构终端化药软膏剂销售规模突破60亿元大关,2022年再创新高,同比增长4.28%。TOP10排位生变,华邦、同方、孚诺抢占前三。今年以来,有4款软膏剂(5个受理号)获批上市,扬子江药业集团广州海瑞药业的盐酸奈康唑乳膏和天津医药旗下天津金耀药业的戊酸二氟可龙乳膏均为首仿。2019年至今,有12个化药软膏剂(43个受理号)以新分类报产在审,齐鲁制药、福元药业等企业冲击首仿。此外,有19个新药获批临床。
海思科拿下畅销软膏剂,60亿市场再掀波澜
来源:米内网一键检索
日前,海思科发布公告,其全资子公司四川海思科制药以仿制4类报产的利丙双卡因乳膏获批。该产品尚无其它新4类仿制药上市,公司是视同通过一致性评价上市的首家仿制药企业。
利丙双卡因乳膏是利多卡因和丙胺卡因的复合制剂,由阿斯利康研发,主要用于正常完整皮肤的局部麻醉和生殖器粘膜浅表手术和浸润麻醉的预处理。米内网数据显示,近年中国城市公立医院、县级公立医院、城市社区中心以及乡镇卫生院(简称中国公立医疗机构)终端利丙双卡因乳膏(复方利多卡因乳膏)市场规模持续攀升,2021年销售额突破3亿元,2022年同比增长3.13%,在化药软膏剂产品中位居第七。
今年以来,有4个软膏剂(5个受理号)获批上市,数量已超过2022年全年。其中,扬子江药业集团广州海瑞药业的盐酸奈康唑乳膏和天津医药旗下天津金耀药业的戊酸二氟可龙乳膏均为首仿。
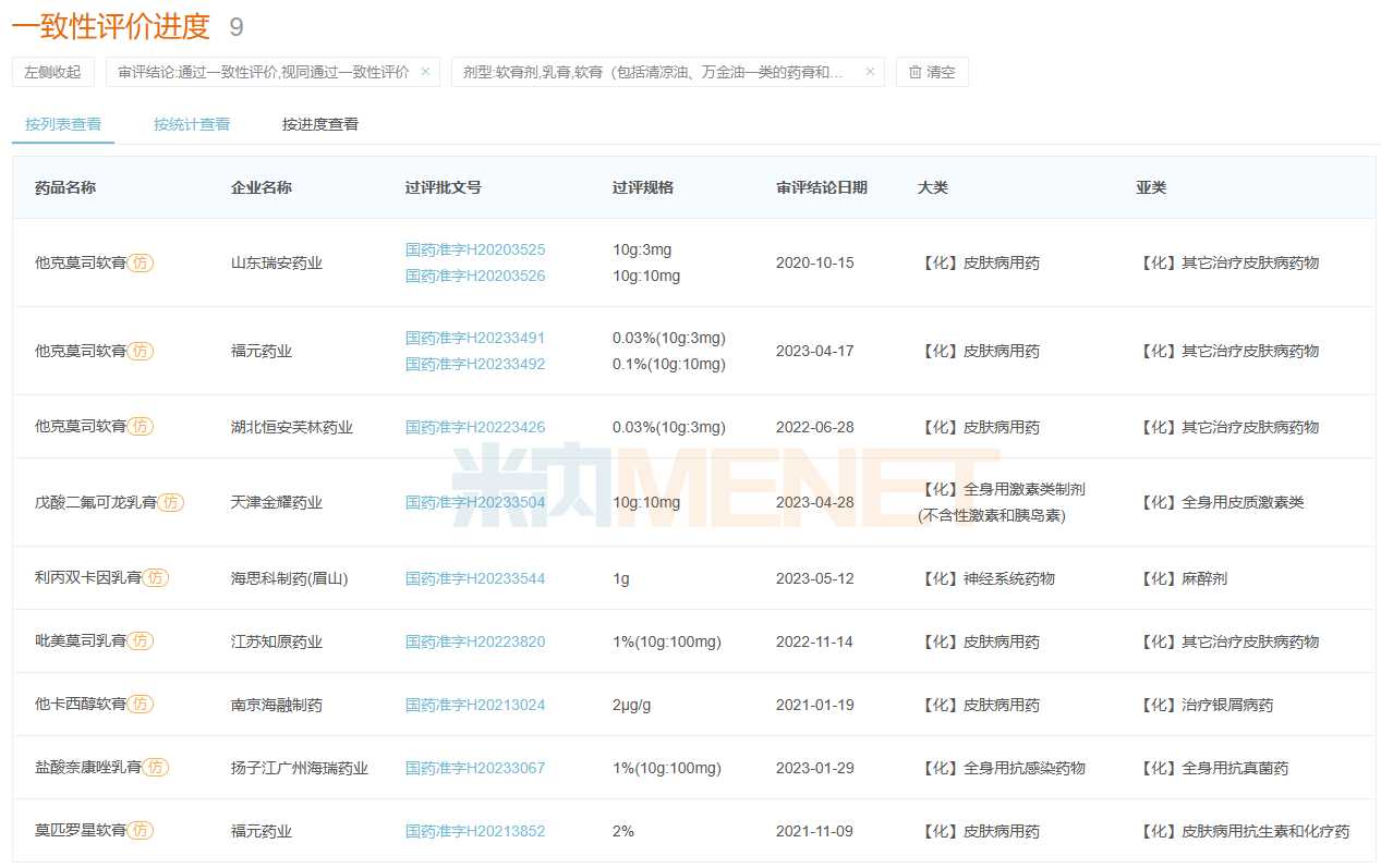
软膏剂过评情况

来源:米内网一致性评价进度数据库
截至目前,软膏剂有7个品种(11个品规)过评,江苏知原药业的吡美莫司乳膏、福元药业的莫匹罗星软膏和南京海融制药的他卡西醇软膏等6个品种均为独家过评。
近年中国公立医疗机构终端化药软膏剂销售情况(单位:亿元)

来源:米内网中国公立医疗机构药品终端竞争格局
软膏剂作为经皮给药的一种剂型,在医院的皮肤科、外科等科室广泛应用。米内网数据显示,近年在中国公立医疗机构终端化药软膏剂市场规模持续扩容,2021年销售额突破60亿元大关,2022年再创新高,同比增长4.28%。
TOP10排位生变!2个产品涨超10%,华邦、同方、孚诺抢占前三
2022年中国公立医疗机构终端化药软膏剂产品TOP10

来源:米内网中国公立医疗机构药品终端竞争格局
产品TOP10销售额涨多跌少,其中,糠酸莫米松乳膏和丙酸氟替卡松乳膏增速超过10%。从治疗大类来看,皮肤病用药依然占据主流。而产品TOP10中,过评的仅有他克莫司软膏、莫匹罗星软膏和利丙双卡因乳膏。
2022年中国公立医疗机构终端化药软膏剂品牌TOP10

来源:米内网中国公立医疗机构药品终端竞争格局
品牌TOP10中,重庆华邦制药的地奈德乳膏、同方药业集团的复方利多卡因乳膏、浙江孚诺医药的复方多黏菌素B软膏位居前三。此外,澳美制药有2个上榜,分别是卤米松乳膏和夫西地酸乳膏。
2022年中国公立医疗机构终端糠酸莫米松乳膏TOP3品牌格局

来源:米内网中国公立医疗机构药品终端竞争格局
糠酸莫米松乳膏用于湿疹、神经性皮炎、异位性皮炎及皮肤瘙痒症。米内网数据显示,2021年中国公立医疗机构终端糠酸莫米松乳膏销售额首次突破4亿元,2022年同比增长11.64%,湖北恒安芙林药业、拜耳、上海正大通用药业的市场份额位居前三。目前该产品有9家企业拥有生产批文,暂无企业过评,仅有福元药业以仿制3类报产在审,有望成为首家过评企业。
2022年中国公立医疗机构终端丙酸氟替卡松乳膏TOP3品牌格局

来源:米内网中国公立医疗机构药品终端竞争格局
丙酸氟替卡松乳膏是皮肤科用皮质激素类药膏,用于一些湿疹、皮炎等皮肤性疾病。米内网数据显示,近年中国公立医疗机构终端丙酸氟替卡松乳膏销售规模稳步增长,2022年增速达12.21%,其中,湖北恒安芙林药业市场份额最大,占比超过60%。目前有6家企业拥有生产批文,福元药业和澳美制药均以新分类报产在审。
齐鲁、福元……冲击首仿,19个新药火热来袭
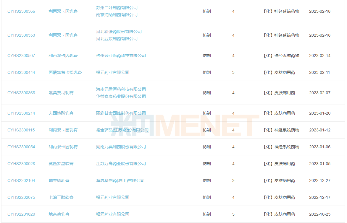
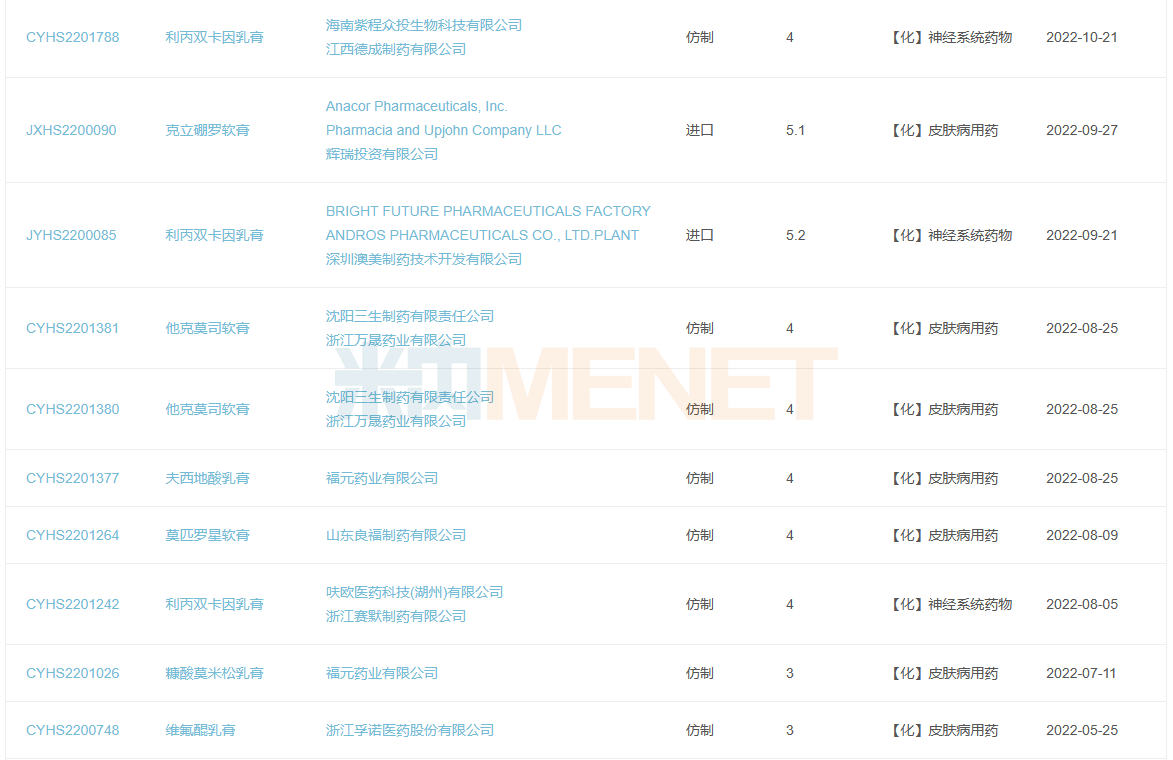
2019年至今化药软膏剂报产在审情况





来源:米内网中国申报进度(MED)数据库
5月26日,CDE官网显示,河南羚锐制药河南羚锐生物药业的莫匹罗星软膏以仿制4类报产获受理,在此之前,华东医药(西安)博华制药的夫西地酸乳膏也是以仿制4类报产。2019年至今,有12个化药软膏剂(43个受理号)以新分类报产在审。其中,利丙双卡因乳膏最抢手,涉及企业多达15家,湖南九典制药、苏州二叶制药、海南海灵化学制药等7家均在今年报产。从企业报产品种数量来看,福元药业最多,有5个,其次人福医药有4个。目前,夫西地酸乳膏、克立硼罗软膏、维氟醌乳膏国内暂无仿制药企业获批,齐鲁制药、福元药业、浙江孚诺医药等多家企业冲击首仿。
2019年至今化药软膏剂新药获批临床情况

来源:米内网中国申报进度(MED)数据库
此外,有19个化药软膏剂新药获批临床,12个是1类新药,7个是改良新药。从治疗大类来看,皮肤病用药最多有11个。其中,安徽柏拉阿图医药的PA9159乳膏、齐鲁制药的QLM3003软膏、合肥医工医药
合肥恩瑞特药业的HY-07170702软膏、上海泽德曼医药的TAP-1503乳膏均在今年获CDE承办受理。
资料来源:公司公告、米内网数据库
注:米内网《中国公立医疗机构药品终端竞争格局》,统计范围是:中国城市公立医院、县级公立医院、城市社区中心以及乡镇卫生院,不含民营医院、私人诊所、村卫生室;上述销售额以产品在终端的平均零售价计算。如有疏漏,欢迎指正!
【版权声明】
转载文章观点仅代表原作者本人,不代表本公司立场。如发现本站文章存在版权问题,烦请将版权疑问、授权证明、版权证明、联系方式等,发邮件至sxket@outlook.com,我们将第一时间核实、处理。